| 注意(1) | 
  | 
月中で従量課金の累計をリセットする手順を説明します。
 
■ 例に使用している品目・サービス
 ① 従量課金_従量 ※品目・サービス名です(以降も同様)。
- 「従量課金種別」=「従量」
 - 
「数量別単価」の設定
最小数量 最大数量 単価 1 150 100 151 200 90 201 250 80 251 9,999,999,999,999,999 
(自動で入る最大数量)70 ※固定利用枠は使用しません(以降も同様)。
 
② 従量課金_変動
- 「従量課金種別」=「変動」
 - 
「数量別単価」の設定
最小数量 最大数量 単価 1 150 100 151 200 90 201 250 80 251 9,999,999,999,999,999 
(自動で入る最大数量)70 ※「従量」と同じ設定です。
 
③ 従量課金_階段
- 「従量課金種別」=「階段」
 - 
「階段別金額」の設定
最小数量 最大数量 金額 1 150 1,000 151 200 1,250 201 250 1,500 251 9,999,999,999,999,999 
(自動で入る最大数量)1,750 ※「階段」の場合は、「単価」ではなく「金額」を設定します。
 
■ 必要な設定
- 「設定マスタ」(設定情報)>「月内の複数従量課金レコードを許容する」
デフォルト値(チェックあり)
 - 「設定マスタ」(設定情報)>「数量別単価締日にち」 ※「従量課金」の累計をリセットしたい日にちを設定します。
ここでは例として、「25」を設定しています。 ※すべての品目・サービスのデフォルト設定となります。
 - 「品目・サービスマスタ」>「数量別単価締日にち」 ※「従量課金」の累計をリセットしたい日にちを設定します。
ここでは例として、「25」を設定しています。 ※品目・サービスごとにリセットする日にちを設定することができます。
「設定マスタ」(設定情報)の設定よりも優先されます。 
 ※累計のリセットには影響しませんが、「見積条件」>「契約締日にち」「請求締日にち」に「末日」を設定しています。
 
■ 共通手順
「従量課金種別」によって作成されるレコードのパターンが異なるため、共通手順以降は、パターンごとに説明します。
- 「商談」(「商談」を利用していない場合は「販売」)を登録し、「見積登録(LWC)」画面、または「見積条件登録画面」を開きます。
 - 「見積登録(LWC)」画面の場合は、ヘッダーの項目を設定します。
「見積条件登録画面」の場合は、「見積条件」「見積」の項目を設定します。
 - 
従量課金の品目・サービスを明細に追加し、「見積明細」ごとに、従量課金設定を行います。
上記は、「見積登録(LWC)」画面の例です。「見積条件登録画面」の場合は、[従量課金設定]ボタンを使用します。Point(1) 「従量登録」画面では、「単価マスタ」に登録された優先度の高い「契約単価」が自動で表示されます。 
別の「契約単価」が登録されている場合は、そちらも適用できます。新規の「契約単価」を登録することもできます。 - 受注確定をします。
通常の受注確定では、受注データ、納品データ、および契約管理データが自動で作成されますが、従量課金の場合のみ納品データが自動で作成されません。
 
以降の手順は、「従量課金種別」によって異なります。
 
■ パターン① 「従量課金種別」=「従量」
- 共通手順で「従量課金種別」=「従量」の品目・サービスを「見積明細」に登録し、受注確定をします。
 - 作成された「契約管理」> 従量課金の「契約ライセンス」から、「利用実績」を登録します。
ここでは例として、次のように「利用実績」を複数件登録します。
 - 利用実績締めを行い、「従量課金」を作成します。
2024/08/25 に従量課金の累計がリセットされる設定としているため、「利用実績」の「締日」が 2024/08/25 以前か翌日以降かを基に、「従量課金」が作成されます。ここでは、次の2件が作成されます。
 - 「従量課金」の作成に伴い、納品データ(納品+納品明細)が作成されます。
「従量課金」の「計上日」がいずれも 2024/08/31 であるため、1件の「納品」にまとめられます。
2024/08/25 に従量課金の累計がリセットされる設定としているため、1件の「納品」に紐づく「納品明細」が2件になります。
 
■ パターン② 「従量課金種別」=「変動」
- 共通手順で「従量課金種別」=「変動」の品目・サービスを「見積明細」に登録し、受注確定をします。
 - 作成された「契約管理」> 従量課金の「契約ライセンス」から、「利用実績」を登録します。
ここでは例として、次のように「利用実績」を複数件登録します。
 - 利用実績締めを行い、「従量課金」を作成します。
2024/08/25 に従量課金の累計がリセットされる設定としているため、「利用実績」の「締日」が 2024/08/25 以前か翌日以降かを基に、「従量課金」が作成されます。ここでは、次の2件が作成されます。
 - 「従量課金」の作成に伴い、納品データ(納品+納品明細)が作成されます。
「従量課金」の「計上日」がいずれも 2024/08/31 であるため、1件の「納品」にまとめられます。
1件の「納品」に3件の「納品明細」が紐づいています。
1件の「納品明細」にまとめられていないのは、従量課金の累計を 2024/08/25 でリセットする設定であることに加え、変動する単価によって次のように分割されるためです。
・ 1行目の「納品明細」 ※リセット前
「数量」= 1 から 150 までの「単価」= 100
・ 2行目の「納品明細」 ※リセット前
「数量」= 151 から 200 までの「単価」= 90
・ 3行目の「納品明細」 ※リセット後
「数量」= 1 から 150 までの「単価」= 100
 
■ パターン③ 「従量課金種別」=「階段」
- 共通手順で「従量課金種別」=「階段」の品目・サービスを「見積明細」に登録し、受注確定をします。
 - 作成された「契約管理」> 従量課金の「契約ライセンス」から、「利用実績」を登録します。
ここでは例として、次のように「利用実績」を複数件登録します。
 - 利用実績締めを行い、「従量課金」を作成します。
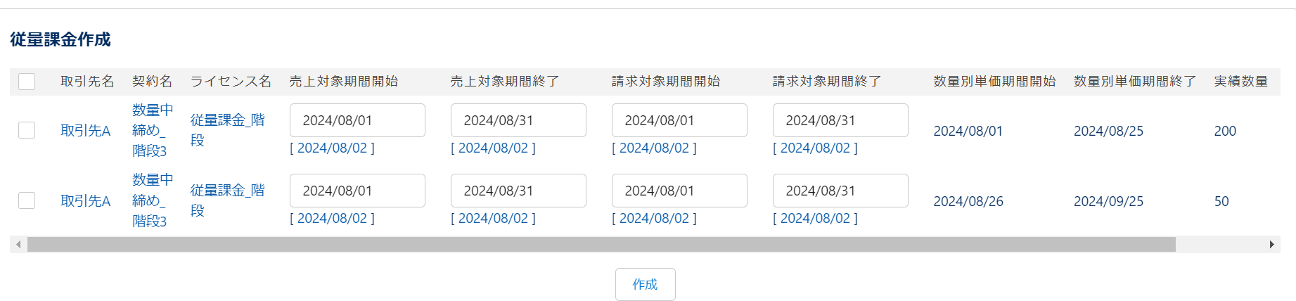
2024/08/25 に従量課金の累計がリセットされる設定としているため、「利用実績」の「締日」が 2024/08/25 以前か翌日以降かを基に、「従量課金」が作成されます。ここでは、次の2件が作成されます。
 - 「従量課金」の作成に伴い、納品データ(納品+納品明細)が作成されます。
「従量課金」の「計上日」がいずれも 2024/08/31 であるため、1件の「納品」にまとめられます。
「従量課金種別」=「階段」ですが、2024/08/25 に従量課金の累計がリセットされる設定としているため、「納品」に紐づく「納品明細」は2件になります。 
NEXT > OPSS抜粋:従量課金の月中締め「赤伝票の処理について」